中国电信
中国电信(China Telecom),是中国最大的互联服务提供商,中国电信的总出口带宽数为 5.2 Tbps.目前,中国电信骨干网的三大国际出口分别是,北京,上海,广州,全国的出口网络最后都会汇集到这三个出口点。
电信 AS4134(ChinaNet/163 Net)
首先是电信 163 网络,这是电信最普通的一个骨干网,也叫作 ChinaNet 或者是 163 Net,是直连,但是没有优化。
路由追踪如图
可见无论是从出发地点到省级接口,省级接口到上海海外出口,然后到美国,走的都是ip为202.97开头的 AS4134,ChinaNet 网络。
电信 AS4809 CN2 GT(全球中转)
GT = Global Transit
电信 CN2 GT 也是直连线路,属于 AS4809 这个 AS 号。电信 CN2 GT 线路采用半程 CN2 线路,也就是说,国内部分是采用 AS4134 也就是 163骨干网,到了国际出口之后,国外部分采用 AS4809 CN2 线路,这样的结合。最初引入该网络是为了解决拥塞问题。它比 AS4134/Chinanet 贵得多。
电信 AS4809 CN2 GIA(全球互联网接入)
GIA = Global Internet Access
CN2 GIA 同样是直连线路,也属于 AS4809,与 CN2 GT 不同的是,CN2 GIA 是全程 CN2 线路,也就是国内 + 国外都是接入 AS4809 的 CN2 节点,这样更进一步保障了线路质量。
CN2 GIA 是往返中国的最昂贵的数据传输方式。多年来,我们观察到该网络出现的问题最少,它非常稳定。
CN2 GT 和CN2 GIA区分
- 无论接入的是 GT CN2 还是 GIA CIA,都保证国家与国家之间的传输在 CN2 骨干网内进行,路由中有 ip 开头为 59.43.*,AS4809,首先即判断有一段为 CN2 网络。
- CN2 GT 的省级出口为 202.97 节点(163骨干网节点),在跨境时才进入 CN2 骨干网,国际跨境节点为 59.43 开头。即使处在 CN2 节点城市,如上海,也会先走 202.97 节点。以此类推其他城市,不再列出。可见目前所有的 CN2 GT 路由都会有 202.97 开头的 ip,如图

电信不同线路简单总结
- 163 Net:全程 AS4134,直连,价格便宜,高峰期线路拥堵
- CN2 GT:AS4134 + AS4809,直连,价格适中,高峰期同样可能会拥堵
- CN2 GIA:全程 AS4809,直连,价格较贵,问题最少,非常稳定
中国联通
- 出海和归来均走北上广;
出/回走 AS4837(联通 169 网络)/AS9929(A网)路由,暂无类似中国电信那样的国际精品网络产品; - 晚高峰时期骨干网选择性丢包的力度比中国电信低很多;
美日线路绝赞性价比。
AS4837
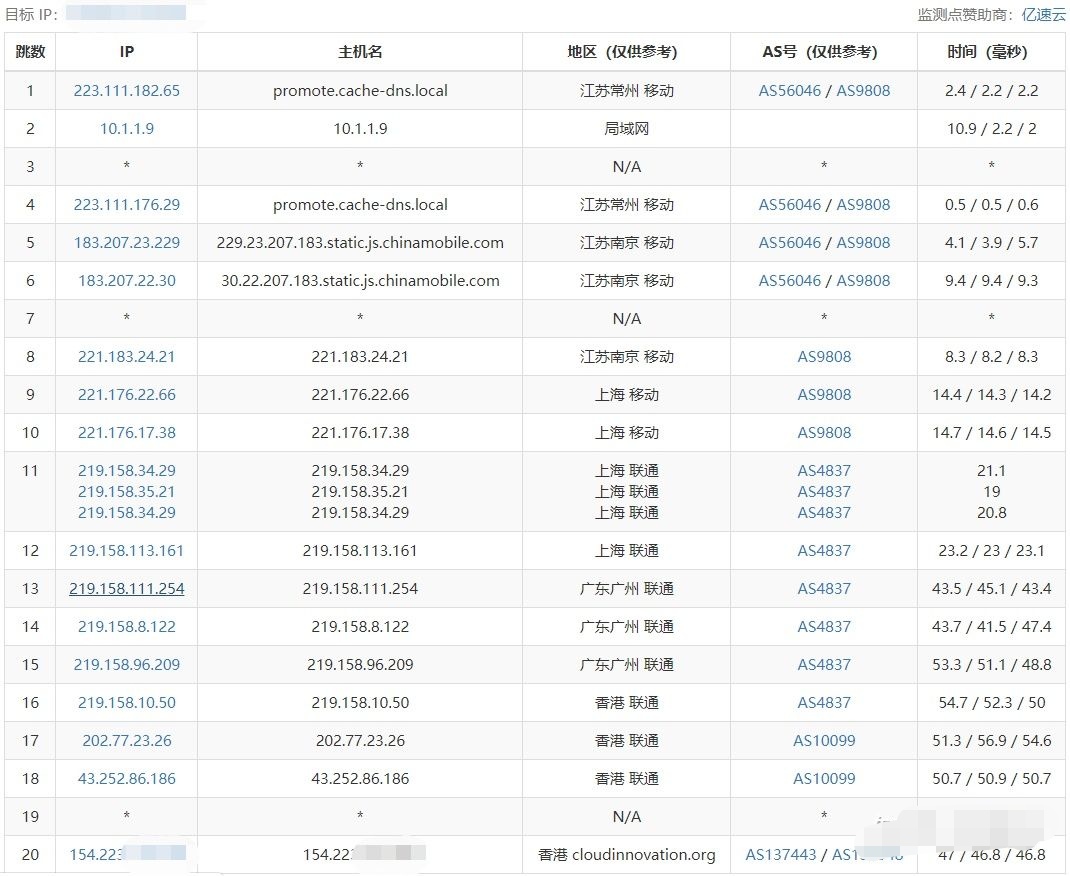
中国联通普通用户从市级 → 省级 → 国际出口 → 境外接入点的过程中,全程走 AS 号为 4837 的路由节点,这些路由节点的 IP 地址开头一律是 “219.158..”,全程不会经过 A网(AS9929),路由如图所示:

中国联通 A 网 AS9929
- 169 网络和 A 网之间的区别,与 163 网络和 CN2 之间的区别并不是一个概念,A 网早在中国网通时代就已存在,属于中国网通的骨干网。在网通和联通合并后,联通仍继续建设当年从电信 163 网分出来的那一部分,即现如今的 169 网(分出来的原因是应当年政企分离的要求,不是电信自己分的),而这张 A 网就闲置了。虽然该产品的定位,名义上和中国电信的 CN2 网络对标,但这张“吃老本”的 A 网所具备的优势仅仅是用户少,网络负荷小,所以表现也还不错,一般给政企、高端用户使用。但由于这张网络多年没有再发展,所以跟持续扩容的 CN2 比,质量方面的差距只会越来越大。
- 从市级 → 省级 → 国际出口 → 境外接入点的过程中,全程走 AS 号为 9929 的路由节点,这些路由节点的 IP 地址开头一律是 “218.105../210...*”,部分偏远地区,会经过 169 网络汇入到 A 网;
- 由于该网的建设初衷就是为国内的网络服务,A 网仅会出现在国内,去程出海后一律并入到 169 网络上;回程必须要经过 169 网络,走到国内部分才转入到 A 网,这是所谓“精品 A 网”与 CN2 网络之间最大的差别;
这个网的技术并不先进,用的人只要变多,或是负责出海数据去回的 169 网炸了,就顿露马脚。
路由如图所示:
中国移动
- 中国移动进出国际网络,在国内经过的绝大部分流量,均由 AS9808 网络承载,旧铁通的 AS9314 网络几乎已被放弃;
暂未发现中国移动有“精品出口网络”产品; - AS9808 网络在北京/上海/广州均有进出海光缆,距多方 Traceroute 观察,广州移动承担了大部分中国移动网络进出口的流量,如中美、中国东南亚等地区;
- 上海移动仅提供分散广州移动出口流量的职能,且流经上海移动的流量,会转交给国内其他运营商(如联通)进行国际通信;
- 北京移动主要承担与欧洲地区进出口流量的通信
- 中国移动的进出口跳跃性很大,国内部分必走 AS9808 路由(221.176../221.183..),在部分地区访问部分 VPS,会并入到铁通 AS9314/电信 163 网络/联通 169 网络的路由节点;
目前来看,中国移动网络的国际访问质量中规中矩,尤其是电信用户谈之色变的东南亚未优化 VPS 线路(一般要从日本 NTT 过去或是绕美),在移动用户看来真是小 Case,如果不能通过广州移动直接过去,那就呆在广州移动绕一圈再过去;
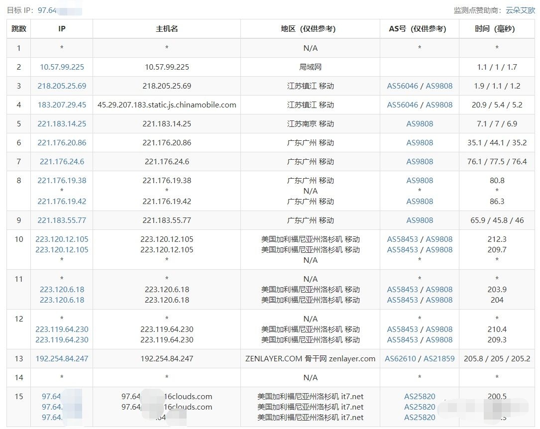
PCCW(电讯盈科) 线路目前是中港之间或是从中国到东南亚其他地区前且必须从香港中转线路的中,国内除纯 CN2 GIA 以外质量最好的线路;路由追踪
绕联通,如图:

直连,如图: